| توافر الحالة: | |
|---|---|
| الكمية: | |
GDZC
CHONGQING GOLD
9030849000
سلسلة GDZC
اختبار مقاومة DC المحول ، Micro Ohmmeter
Introduction
GDZC Transformer Winding DC Tester يستخدم للاختبار وتثبيت وتبادل المحول شبه المنتهي أو النهائي.
GDZC محول اختبار المقاومة هو أيضا ضرورة للسلطة قسم لإجراء تجارب وقائية.
GDZC Transformer DC Tester يمكن أن تساعدك بشكل فعال على العثور على التشوهات في تصنيع المحولات ، مثل الاختيار المتعرج ، واللحام ، والمفاصل الفضفاضة ، والأسهم المفقودة والخطر الخفي في الجري.
من أجل تلبية الحاجة إلى القياس السريع لمقاومة التيار المستمر ، تستفيد شركتنا من ميزتنا التكنولوجية لتطوير مقياس Micro Ohmmeter ؛
Fيأكل
GDZC Series Transformer Transformer Tester هو مناسب للمحول على نطاق واسع أعلى من 240mVa في اختبارات ارتفاع درجة الحرارة.
قياس مقاومة لفائف العاصمة
قياس مقاومة لفائف المحول الحالي (CT)
محول الجهد (PT) قياس مقاومة لفائف العاصمة
قياس مقاومة مولد مولد مولد العاصمة
بعد اكتمال القياس ، يتم تفريغ الملف المكتشف تلقائيًا.
تم الانتهاء من اختبار مقاومة الجهد المنخفض الجهد 840MVA في غضون دقيقتين ، وكانت البيانات مستقرة ودقيقة.
تعرض القناة المزدوجة بيانات القياس في نفس الوقت.
كل فاصل 60 ثانية طباعة البيانات تلقائيا.
مجهزة ببرنامج تحويل درجة الحرارة ، منحنى الطول الموجي.
يمكنك أيضًا الاتصال باستخدام الكمبيوتر لتنزيل نتائج الاختبار.
تحديد
| غرض | GDZC-2A | GDZC-10A | GDZC-20A | GDZC-40A | GDZC-100A | GDZC-20S |
| اختبار التيار | 2A | 10A | 20A | 40A | 25a ، 50a ، 100a | مرحلة واحدة: 1A ، 5A ، 10A ، 20A ، 40A ثلاث مراحل: 1A ، 5A ، 10A ، 20A |
| نطاق القياس | 1μΩ ~ 4.5kohm | 1μΩ ~ 20ohm | 1μΩ ~ 10ohm | 1μΩ ~ 10ohm | 50μΩ-200MΩ (100A)
100μΩ-400 MΩ (50a)
200μΩ-800 MΩ (25A) | على مرحلة واحدة: 10mΩ~20Ω (1A) 1 MΩ~4Ω (5A) 1 MΩ~2Ω (10 أ) 1 MΩ~1Ω (20 أ) 1 MΩ~0.5Ω (40a)
ثلاث مراحل: 10 م~6Ω (1A ، كل مرحلة) 1 MΩ~1Ω (5A ، كل مرحلة) 1 MΩ~0.6Ω (10A ، كل مرحلة) 1 MΩ~0.3Ω (20 أ ، كل مرحلة) |
| دقة | 1μΩ | |||||
| الأعلى. خطأ | 0.2 ٪ RDG+2D | |||||
| إخراج الجهد | 20V | |||||
| مزود الطاقة | AC220V ± 10 ٪٪ ، 50 هرتز/60 هرتز | |||||
| بيئة العمل | -10 ℃-+40 ℃ RH≤85 ٪ | |||||
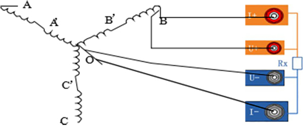
الاسلاك الرسم البياني
قم بتوصيل العمود الأرضي بالأرض بحزم ، ثم قم بتوصيل سلك الطاقة وأسلاك الاختبار ، و u+ داخل I+ ، و U- داخل i-.
1) اختبار مقاومة محول وضع y:
2) اختبار مقاومة محول وضع D. قيمة الاختبار صقبل الميلاد ليست مقاومة لف BC ، تحتاج إلى اختبار rأب ، صقبل الميلاد، ثم حساب rقبل الميلاد وهي المقاومة الحقيقية للاختراق قبل الميلاد. صقبل الميلاد= م/ن ؛
م = 2 *(rأبRAC+صأبRقبل الميلاد+صقبل الميلادRAC)-(rأب2+صقبل الميلاد2-Rقبل الميلاد2)
n = 2 *(rأب+صقبل الميلاد-Rقبل الميلاد)
3) اختبر مقاومة محول وضع Z:
قطعة منفصلة
شركائنا
اتصل بنا
جهة الاتصال: كريستين جو
Whatsapp/WeChat: +86 15123029885
متحرك: +86 15123029885
البريد الإلكتروني: gold05@hy-industry.com
سلسلة GDZC
اختبار مقاومة DC المحول ، Micro Ohmmeter
Introduction
GDZC Transformer Winding DC Tester يستخدم للاختبار وتثبيت وتبادل المحول شبه المنتهي أو النهائي.
GDZC محول اختبار المقاومة هو أيضا ضرورة للسلطة قسم لإجراء تجارب وقائية.
GDZC Transformer DC Tester يمكن أن تساعدك بشكل فعال على العثور على التشوهات في تصنيع المحولات ، مثل الاختيار المتعرج ، واللحام ، والمفاصل الفضفاضة ، والأسهم المفقودة والخطر الخفي في الجري.
من أجل تلبية الحاجة إلى القياس السريع لمقاومة التيار المستمر ، تستفيد شركتنا من ميزتنا التكنولوجية لتطوير مقياس Micro Ohmmeter ؛
Fيأكل
GDZC Series Transformer Transformer Tester هو مناسب للمحول على نطاق واسع أعلى من 240mVa في اختبارات ارتفاع درجة الحرارة.
قياس مقاومة لفائف العاصمة
قياس مقاومة لفائف المحول الحالي (CT)
محول الجهد (PT) قياس مقاومة لفائف العاصمة
قياس مقاومة مولد مولد مولد العاصمة
بعد اكتمال القياس ، يتم تفريغ الملف المكتشف تلقائيًا.
تم الانتهاء من اختبار مقاومة الجهد المنخفض الجهد 840MVA في غضون دقيقتين ، وكانت البيانات مستقرة ودقيقة.
تعرض القناة المزدوجة بيانات القياس في نفس الوقت.
كل فاصل 60 ثانية طباعة البيانات تلقائيا.
مجهزة ببرنامج تحويل درجة الحرارة ، منحنى الطول الموجي.
يمكنك أيضًا الاتصال باستخدام الكمبيوتر لتنزيل نتائج الاختبار.
تحديد
| غرض | GDZC-2A | GDZC-10A | GDZC-20A | GDZC-40A | GDZC-100A | GDZC-20S |
| اختبار التيار | 2A | 10A | 20A | 40A | 25a ، 50a ، 100a | مرحلة واحدة: 1A ، 5A ، 10A ، 20A ، 40A ثلاث مراحل: 1A ، 5A ، 10A ، 20A |
| نطاق القياس | 1μΩ ~ 4.5kohm | 1μΩ ~ 20ohm | 1μΩ ~ 10ohm | 1μΩ ~ 10ohm | 50μΩ-200MΩ (100A)
100μΩ-400 MΩ (50a)
200μΩ-800 MΩ (25A) | على مرحلة واحدة: 10mΩ~20Ω (1A) 1 MΩ~4Ω (5A) 1 MΩ~2Ω (10 أ) 1 MΩ~1Ω (20 أ) 1 MΩ~0.5Ω (40a)
ثلاث مراحل: 10 م~6Ω (1A ، كل مرحلة) 1 MΩ~1Ω (5A ، كل مرحلة) 1 MΩ~0.6Ω (10A ، كل مرحلة) 1 MΩ~0.3Ω (20 أ ، كل مرحلة) |
| دقة | 1μΩ | |||||
| الأعلى. خطأ | 0.2 ٪ RDG+2D | |||||
| إخراج الجهد | 20V | |||||
| مزود الطاقة | AC220V ± 10 ٪٪ ، 50 هرتز/60 هرتز | |||||
| بيئة العمل | -10 ℃-+40 ℃ RH≤85 ٪ | |||||
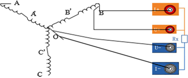
الاسلاك الرسم البياني
قم بتوصيل العمود الأرضي بالأرض بحزم ، ثم قم بتوصيل سلك الطاقة وأسلاك الاختبار ، و u+ داخل I+ ، و U- داخل i-.
1) اختبار مقاومة محول وضع y:
2) اختبار مقاومة محول وضع D. قيمة الاختبار صقبل الميلاد ليست مقاومة لف BC ، تحتاج إلى اختبار rأب ، صقبل الميلاد، ثم حساب rقبل الميلاد وهي المقاومة الحقيقية للاختراق قبل الميلاد. صقبل الميلاد= م/ن ؛
م = 2 *(rأبRAC+صأبRقبل الميلاد+صقبل الميلادRAC)-(rأب2+صقبل الميلاد2-Rقبل الميلاد2)
n = 2 *(rأب+صقبل الميلاد-Rقبل الميلاد)
3) اختبر مقاومة محول وضع Z:
قطعة منفصلة
شركائنا
اتصل بنا
جهة الاتصال: كريستين جو
Whatsapp/WeChat: +86 15123029885
متحرك: +86 15123029885
البريد الإلكتروني: gold05@hy-industry.com